Kragujevac
Radio-aparat je proizveden u maloj seriji kao odgovor na modele fabrike Nikola Tesla.
Proizvodnja je počela 1956. godine.
Prijemnik je u drvenoj kutiji sa delovima koje je počela da proizvodi domaća industrija.
Prijemnik ima srednje, kratke i duge talase, ulaz za gramofon i izlaz za dodatni zvučnik.
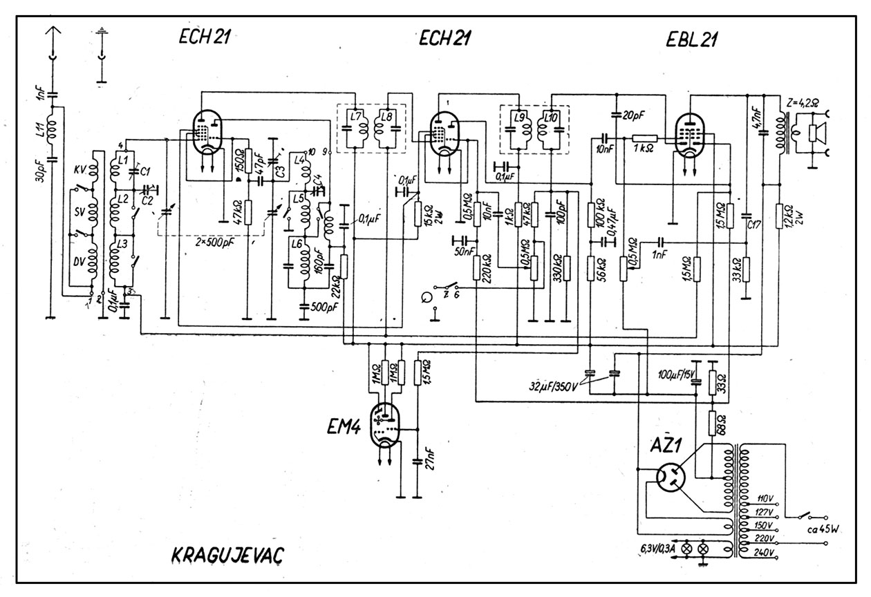
Elektronske cevi: ECH21, ECH21, EBL21, AZ1, EM84



Šema prijemnika KRAGUJEVAC